2025年上半年已经结束,票据逾期情况依旧不容乐观,且有愈演愈烈之势。根据上海票交所发布的名单,2025年6月承兑人逾期名单上承兑人数量为889家,上海票交所将暂停这889家承兑人的票据承兑功能。6月持续逾期名单上承兑人有5165家,上海票交所将根据名单中的持续逾期开始时间算起,暂停其承兑、贴现、保证、质押等功能2年。

当上海票据交易所6月的名单悄然更新,这组刺目的数字让金融圈彻夜难眠。承兑人逾期名单持续处于高位,这不仅仅是一组冰冷的数字,更意味着债务危机正在悄然爆发。商业汇票这一曾经被视为便捷的支付工具,如今俨然变成了让企业深受其害的“伤票”。

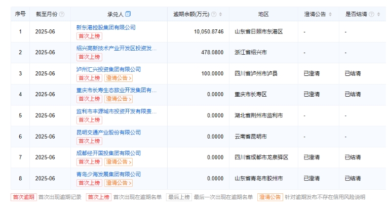
上海票交所公布的名单显示,截至2025年6月30日,承兑人逾期名单和持续逾期名单涉及77家发债城投,票据总逾期余额达30.71亿元。

其中, 8家发债城投公司为首次上榜,分布在山东、浙江、四川、重庆、湖北、云南六省。新东港控股集团有限公司逾期余额为10050.8746万元;绍兴高新技术产业开发区投资发展集团有限公司逾期余额为478.08万元。

从 2021年8月至2025年6月, 发债城投票据逾期记录累计 1149条,涉及发债城投293家。从最新逾期金额来看, 93家发债城投达到1亿元或以上,其中12家不低于5亿元。全部逾期发债城投分布在24个省份,山东91家、江苏38家、河南30家、贵州26家、湖南15家、四川15家、云南14家、陕西10家、重庆10家。
尽管部分涉众债务的解决推动市场情绪局部修复,但历史逾期金融债权叠加新增票据违约的持续发酵,使得相关区域的再融资与偿债压力并未得到缓解。 目前多地城投票据逾期规模持续走高,这一现象已成为全国化债攻坚战的典型缩影,反映出地方城投平台在资金周转和债务偿还方面面临着巨大的挑战,也凸显了地方财政运行的压力。

历次逾期名单中,房建产业链企业往往位居前列,如建筑业、房地产、租赁等行业,其中还包括大量国企央企 , 中国建筑技术集团有限公司便是其中之一,其逾期余额为 75.93万元,该 企业 2025年上半年票据逾期累计达6704.69万元。

这一现象表明,地产行业一批又一批企业的倒下所带来的连锁反应还在继续,下游很多配套企业都出现了不同程度的资金危机。在房地产行业狂飙突进的年代,房企理财曾是行业心照不宣的 “影子融资”工具。然而,随着“三道红线”政策落地、楼市降温,房企资金链骤然紧绷,曾经引人注目的理财产品纷纷爆雷,背后是数以万计投资者的血汗钱,以及房企在危机中的不同抉择。
记者统计了 2025年1月1日至2025年6月30日,发生3次以上承兑人逾期的地产以及建筑行业承兑人名单,这些曾经风光无限的企业,如今却沦为被人指指点点,或将走向倒闭之路的“危楼”。




除了房地产和城投,工业制造业领域也逐渐成为持续逾期名单中的 “新秀”。 汽车、纺织、机械、钢铁等 传统 及新兴行业都没能逃出生天,甚至 不断被爆出逾期爆雷的噩耗,产能过剩领域的债务问题正 在 全面爆发。
汽车行业,哪吒汽车的联营企业合众新能源汽车股份有限公司因 票据承兑逾期余额 2.23亿元被列入名单。

截至 6月30日,吉利集团旗下子公司汉马科技逾期余额为937.04万元, 累计逾期发生额达 3.72亿元。票交所已暂停其商业汇票承兑服务权限,企业须清偿全部逾期票据并完成信用修复流程后方可申请恢复。

2025年上半年,厦门金龙的累计承兑发生额达到5.1亿元,承兑余额为5.34亿元, 而累计逾期发生额则为 1459.9万元。上海票交所已暂停该公司的商业汇票承兑服务权限。

工程机械领域, 截至 2025年6月30日,邢台欧菲机械累计逾期发生额为9.1亿元, 逾期余额为 9.1亿元。

据 3月份数据, 长江润发(张家港)机械有限公司 累计承兑金额 3000万元,全部逾期未兑付。更严重的是,其历史累计逾期金额已高达 5.3亿元,目前票据新增承兑为0.业务疑似全面停滞。

钢铁行业,知名企业山东泰山钢铁不幸 “沦陷”。 截止 2025年6月1日,山东泰山钢铁集团有限公司的商业 承兑汇票逾期余额已达 25.36亿元,承兑余额为 26.48亿元。

纺织行业,红豆集团有限公司因连续 6个月内发生3次以上票据逾期,且存在月末逾期余额。票据逾期对企业融资链的负面影响具有传导性,红豆集团持有的无锡锡商银行5500万股权已于2024年9月被上海金融法院冻结,冻结股权仅占银行总股本的2.75%。

更是风险重重, 在 2025年6月新增的逾期企业中,制造类企业有江苏中清光伏科技、山东坚纳维智能科技等,新能源(光伏、储能)行业新增12家,反映出该行业现金流承压。在持续逾期名单中,光伏行业企业占比超六成 。




